片口金型 ハロゲンランプヒーター
封入されたハロゲンガスにより、蒸発したタングステンが管壁に付著しないため、管球の黒化による光束維持率の低下が抑えられます。

特長

商品に関するお問い合わせ、オーダーメイドなど各種お見積り依頼やお問い合わせはこちらからお気軽にどうぞ。
工業用?産業用ヒーターのことなら坂口電熱株式會社 > 製品情報 > ヒーター?加熱裝置 > 遠赤外線ヒーター > 片口金型 ハロゲンランプヒーター
封入されたハロゲンガスにより、蒸発したタングステンが管壁に付著しないため、管球の黒化による光束維持率の低下が抑えられます。



商品に関するお問い合わせ、オーダーメイドなど各種お見積り依頼やお問い合わせはこちらからお気軽にどうぞ。

| 型名/コード | HLH1 | HLH2 | HLH3 |
|---|---|---|---|
| 定格 | 110V 100W | 110V 250W | 110V 500W |
| 全光束(Im) | 1600 | 4500 | 9500 |
| 色溫度(K) | 2900 | 2900 | 2950 |
| 定格壽命(時間) | 1500 | 2000 | 2000 |
| 形狀寸法 | ![]() |
![]() |
![]() |
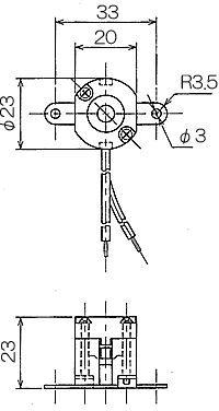
| 型名/コード | E11GS |
|---|---|
| 定格 | 125V 5A |
| 形狀寸法 | ![]() |
測定條件:
1)ハロゲンランプを反射笠と平行に設置
2)雰囲気:大気中

1)測定距離50mmの溫度測定

2)測定距離100mmの溫度測定
